Применение конвейеров ленточного типа впервые началось в середине 19-го столетия, и по настоящее время этот вид транспортировки остается наиболее эффективным и рентабельным способом переместить груз из одной точки в другую.
Существует несколько основных разновидностей конвейерной ленты, однако, наиболее распространенным на данный момент является резинотканевый тип. Рассмотрим ключевые моменты, которые включает процесс изготовления лент этого типа.
Материал сердечника и обкладок ленты
Тяговый каркас (сердечник) определяет прочность конечного изделия. В качестве несущего полотна используют ткани на основе натуральных (хлопок, вискоза) и синтетических материалов (полиамид, полиэстер, арамид). Следует отметить основные недостатки натуральных тканей: хлопок обладает низкой прочностью, а вискоза – высоким влагопоглощением, что может привести к расслоению при вулканизации и эксплуатации. Полиамид и полиэстер обладают высокой прочностью на разрыв и устойчивы к истиранию; арамид, помимо указанных свойств, имеет наименьшее удлинение при растягивающих усилиях.
Основной компонент обкладок - каучук. Может быть натуральным либо синтетическим. Натуральный каучук превосходит синтетические по разрывной прочности, стойкости к истиранию, надрезам и прочим механическим повреждениям.
С другой стороны, синтетические каучуки обладают некоторыми специфическими свойствами, которые делают их незаменимыми для лент, эксплуатация которых происходит в условиях повышенной температуры (например, бутадиенстирольный каучук), воздействия жиров и масел (бутадиен-нитрильный, хлоропреновый).
Производство конвейерной ленты: основные этапы
В общем случае включает в себя изготовление резиновых смесей (что является обширной темой, поэтому отдельно рассматривать ее мы не будем), предварительную обработку тканевой основы, промазку, сборку каркаса, сборку ленты, вулканизацию, контроль качества, маркировку и упаковку.
Подготовка ткани
Ткань предварительно пропитывается для повышения ее адгезионных свойств. Для этого используется устройство непрерывного действия, которое обеспечивает погружение ткани в специальный состав (дисперсию, содержащую различные латексы, смолы, наполнители и модификаторы).
Далее происходит просушка ткани и удаление излишков пропиточного состава. Проводится в конвекционных сушилках при температуре 130-160 С, для резоцинформальдегидных латексов допустима до 230 С.
Промазка и наложение резиновых прослоек
Ткань промазывают раствором резиновых смесей на клеепромазочном устройстве. Затем в трех- либо четырехвалковом каландре на тканевую основу наносится прослоечная резина.
Сборка тягового каркаса
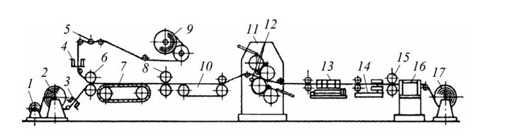
Каркас конвейерной ленты собирают, последовательно накладывая предварительно изготовленные резинотканевые прокладки. Процесс автоматизирован, конструкция сборочной линии представлена на рисунке ниже:

Рис.1. Линия сборки сердечников лент:
1 - раскаточный станок; 2 - стыковочный пресс; 3, 7 - петлевые компенсаторы; 4 - барабанная сушилка; 5 - натяжные валки; 6 - каландр;
8 - дублировочная машина; 9 - ширительное устройство; 10, 12, 17 - валики датчиков натяжения; 11 - дублирующий барабан с дублирующим роликом;
13 - плавающий ролик; 14 - тормозные валки; 15 - протягивающие валки; 16 - натяжной барабан; 18 - прибор для указания числа прокладок;
19, 21 - ножевые механизмы для продольного и поперечного разрезания сердечника; 20, 22, 24 - закаточные и раскаточные станки;
23 - установка для обработки сердечиков тальковой суспензией; 25 - монорельс с электротельферами.
Сборка каркаса с обкладками
Наложение рабочей и ходовой резиновых обкладок происходит в каландровых поточных линиях. Назначение таких обкладок – защита тягового каркаса от механических повреждений и истирания.
Схема такой линии приведена на рисунке ниже:

Рис. 2. Поточная линия обкладки сердечников конвейерных лент:
1 - станок для закатки прокладки; 2 - раскаточный станок; 2, 4 - пневмодатчики центрирующих устройств;
5 - центрирующее устройство для брекерной ткани; 6, 8, 15 - дублирующие валки; 7 - устройство для заворота кромок брекерной ткани на борт;
9 - раскаточный станок для брекерной ткани; 10 - транспортер; 11 - четырехвалковый каландр; 12 - дисковые ножи;
13 - механизм для заворота резинового листа на кромки заготовки; 14 - механизм для обертки кромок сердечника полосками ткани;
16 - установка для нанесения эмульсии; 17 - устройство для закатки заготовки ленты.
Вулканизация
Обычно проводится отдельными участками в гидравлических вулканизационных прессах между двух нагревательных плит длиной до 15000 мм и шириной до 3800 мм, при температуре 140 – 170 С и рабочем давлении 18 – 27 кгс/см2. Нередко добавляется третья плита, такой вариант может использоваться для одновременной вулканизации двух лент. Продолжительность вулканизации в общем случае равна 1-2 минутам на 1 мм толщины ленты. Вулканизация – наиболее ответственый этап. Обязательное условие получения высококачественного изделия – недопущение отклонений параметров температуры и выдержки процесса. Впрочем, остальные этапы не менее важны, и допущенные отклонения на любом этапе техпроцесса могут являться причиной производственного брака.
Коментарі 12 коментарів